LEVEL 78+ BATTEN SYSTEM

Solid Hardwood Flooring
Commercial / Residential

C 1.2.3

 

C 1.2.3

 


Fig. 1

C 1.0 General Information

C 1.2 Batten System Information

C 1.2.3 Specifier's Information

C 1.2.4 Laying Instructions

Level 78+ is a batten and wedge levelling system for the installation of solid wooden floors, with the possibility of integrating step sound reduction. It is typically used for uneven subfloors.

This floor system comprises Junckers solid 2-strip boards and planks, nailed to battens.

The system is suitable for laying in both residential and commercial buildings, and can be laid in combination with underfloor heating systems, see E 4.0.

The floor system is usually installed on an unlevelled subfloor, and comes with special wedges, DuoWedges, ready to click onto the battens for levelling of the floor system.

Junckers Stepsound Reducer is used where stepsound reduction is required.

Construction height from 78 mm (39 x 40 mm battens and 22 mm floor boards). Bases to reach a maximum height of 225 mm (63 x 40 mm battens) are available with the system.

Please note that full information on a floor system comprises the data in C 1.0, C 1.2, C 1.2.3 and C 1.2.4. See Fig. 1.


SYSTEM SPECIFICATIONS

Junckers 22 mm solid boards or 20.5 mm solid planks, nailed to battens, are defined as loadbearing floors. The Level 78+ Batten System comprises engineered battens of 39 x 40 mm or 63 x 40 mm, laid and levelled up on a firm subfloor using Junckers DuoWedges and Stepsound Reducer (optional). DuoWedges are fixed onto the battens without the use of nails or tools.


GENERAL DESCRIPTION OF FLOOR SYSTEM

This floor system comprises Junckers solid 2-strip boards and planks, nailed to battens.

The system is suitable for laying in both residential and commercial buildings, and can be laid in combination with underfloor heating systems, see E 4.0.

The floor system is usually installed on an unlevelled subfloor, and comes with special wedges, DuoWedges, ready to click onto the battens for levelling of the floor system.

Junckers Stepsound Reducer is used where stepsound reduction is required.

Construction height from 78 mm (39 x 40 mm battens and 22 mm floor boards). Bases to reach a maximum height of 225 mm (63 x 40 mm battens) are available with the system.

Please note that full information on a floor system comprises the data in C 1.0, C 1.2, C 1.2.3 and C 1.2.4. See Fig. 1.


Fig. 4

BOARDS

Boards are nailed to battens according to a fixed 10-board rule, see C 1.2 - 10-BOARD RULE.

The boards are laid in a continuous pattern with irregular distribution of header joints. Header joints in the same span should not be closer than every third row. Stave joints in one row should not adjoin stave joints in an adjacent row, but must be spread as widely as possible.


BATTENS

Junckers engineered Level 78+ battens are used. Battens are available in different lenght, in the size, height x width, 39 x 40 mm and 63 x 40 mm.

Battens are spaced according to the use of, and expected load on, the floor, see C 1.2 - SPACING OF BATTENS.


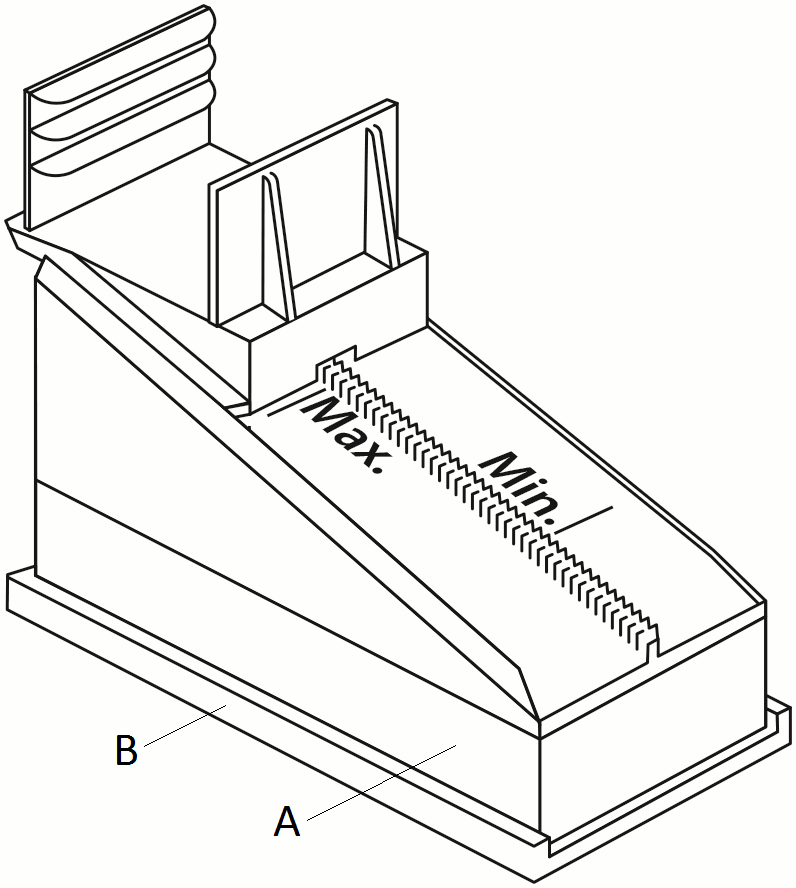
PACKINGS

Junckers DuoWedges are used, alone or in combination with bases, Fig, 4 (A), and/or Junckers Stepsound Reducer, Fig, 4 (B).

All batten joints must be supported by two wedges. Batten joints must be staggered at least 600 mm to each other, and may not occur in straight lines.

At walls, batten joists, etc. the distance from batten ends to the centre of the first packing must be maximum 80 mm.

On unscreeded concrete surfaces Junckers Stepsound reducer under the wedge is recommended. Using the stepsound reducer ensures that the wedge is firmly placed and it also reinforces the moisture barrier, preventing moisture from seeping up into the floor system.

Packings are spaced according to the use of, and expected load on, the floor, see C 1.2 - SPACING OF PACKINGS.


CONSUMPTION OF MATERIALS

Boards: approx. 2% wastage.

Nails: approx. 15 pcs. per m² (depending on batten centres and board width)

Battens:
39 x 40 or 63 x 40 mm: c/c 600 mm: approx. 2 lin. m per m²
c/c 500 mm: approx. 2.4 lin. m per m²

Packings:
c/c 600 mm: approx. 4.5 pcs. per m²
c/c 500 mm: approx. 5 pcs. per m²
Moisture barrier: 25% extra for overlap + wastage


Fig. 3

COMPONENTS

1 - Boards
• Junckers 22 mm 2-strip boards, incl. shipsdecking
• Junckers 20.5 mm Planks, incl. shipsdecking.

Wood species, dimensions, grades and finish:

22 x 129 mm Solid 2-strip: see B 2.0
20.5 x 140 mm Planks: see B 5.0
20.5 x 185 mm Planks: see B 6.0

2 - Nails
• 2.2 x 45 mm Junckers J-Nails
• 2.6 x 65 mm T-nails (machine nails)
• 2.8 x 65 mm lost-head wire nails
3 - Battens (hxw)
• 39 x 40 mm engineered battens. construction height from 78 mm.
• 63 x 40 mm engineered battens. construction height from 102 mm.
4 - Packings
• Junckers DuoWedges
• Bases in 20, 30, 40 and 50 mm
• Junckers 4.5 mm Stepsound Reducer

5 - Moisture barrier
• On concrete and where there is a risk of moisture penetration, a moisture barrier, e.g. Junckers Moisture Barrier, of 0.20 mm PE membrane or 1000 g polythene is installed. hej

6 - Expansion gap at the wall
• 1.5 mm per m width on each side and 1 mm per m length at each end. All gaps should be a min. size of 12 mm (UK: min. 15 mm). Is also required at fixed points, e.g. columns.

Fig. 2

keyboard_arrow_up



picture_as_pdf